Iklan 300x250

42 subaru hood latch diagram

Hood latch diagram /problem - Subaru Outback Forums Mar 28, 2006 · All you need to do is to reopen the hood latch via the release inside the car to pop it back open and then close the hood. The cable attachment is on the outside of the latch, as disassembly of the hood latch is not recommended due to the strong springs under tension inside. If it is only the cable, look for a small lever near the cable bracket ... How to Replace Hood Latch 04-09 Subaru Outback - YouTube 1A Auto shows you how to repair, install, fix, change or replace a broken or loose hood latch. This video is applicable to the 08 Subaru Outback๐Ÿ”ง List of to...

2012 subaru STI Hood Latch (Front) - 57310FE080 - Genuine ... Shop 2012 subaru STI Hood Latch (Front). Lock Hood LHD. A latch that secures the hood to the vehicle Lock, Body -OEM subaru Part # 57310FE080. Toggle navigation. Search by Keywords, Part Numbers or Full VIN Go . 2012 Subaru STI {{loadingIndicator}} Toggle navigation ...

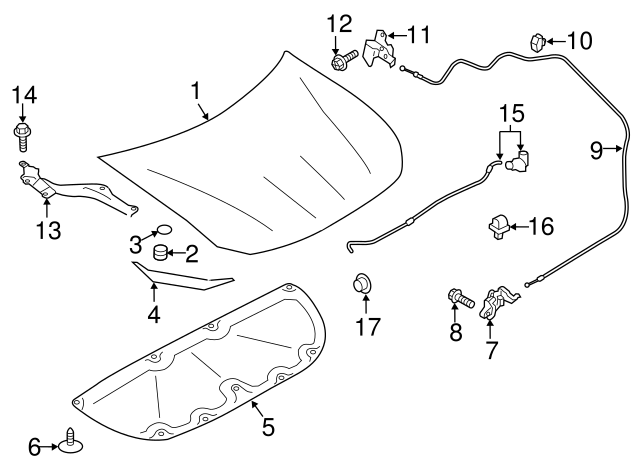
Subaru hood latch diagram

Subaru hood latch diagram

Hood latch problem | Subaru Outback Forums I feel bad experiencing these problems with my 2nd and most expensive subaru. I brought it back to the dealer this afternoon and they cant figure out too what is wrong with the latch. the releasinf latch (controled by the lever under the steering wheel) is not catching lock the latch pushed down by the hood, that is why. 2014 subaru Forester Hood Latch (Front) - 57310FE080 ... Lock Hood LHD. A latch that secures the hood to the vehicle body when shut. Fits Impreza, STI, WRX Hood Latch Replace the hood latch on your 2014 Subaru Forester if your hood latch is stuck and your hood doesn't open. 57310XA00A Genuine Subaru Front Hood Lock Assembly Your vehicle deserves only genuine OEM Subaru parts and accessories. To ensure reliability, purchase Subaru part # 57310XA00A Front Hood Lock Assembly.It is sometimes referred to as Subaru Hood Latch. Our Subaru parts and accessories are expedited directly from authorized Subaru dealers strategically located all across the U.S. and are backed by the manufacturer's 12 month, 12,000 mile warranty.

Subaru hood latch diagram. How to unlatch your hood when the cable breaks *pictures ... Some down pressure on the hood from a helper might also take some pressure off the latch to make it easier to release. When you hit it correctly, it should clang like it usually does and release the hood. Alternative method: If your mechanism does not have a plastic backing on it. (Maybe they all do, my loyale didn't though). How to Open Hood Latch Subaru Legacy 2015 2016 ... - YouTube How to Open Hood Latch Subaru Legacy 2015 2016 2017 2018 2019 2020 2021 2022 You need to know how to open the hood to get to the engine, check the oil, power... 57310AC010 Genuine Subaru Front Hood Lock Assembly Your vehicle deserves only genuine OEM Subaru parts and accessories. To ensure reliability, purchase Subaru part # 57310AC010 Front Hood Lock Assembly.It is sometimes referred to as Subaru Hood Latch. Our Subaru parts and accessories are expedited directly from authorized Subaru dealers strategically located all across the U.S. and are backed by the manufacturer's 12 month, 12,000 mile warranty. Subaru Service Manuals - Wiring Diagrams Subaru is an automotive brand of a large industrial concern Fuji Heavy Industries Ltd. Cars are by no means the only sphere of FHI activity; except for them, FHI deals with aviation equipment, railway transport, shipbuilding, etc. The history of the concern, thanks to which the brand Subaru appeared, began in 1917.

What To Do If You Have a Stuck Hood Latch Or Hood Won't ... Shop for New Auto Parts at 1AAuto.com the video, 1A Auto shows how to open or release a stuck, jammed or rusted hood latc... Open Hood How To 2000-2004 Subaru Outback 2000 Subaru ... This video shows you how to open the hood in your 2000 Subaru Outback. Popping the hood on your Outback is a two step process, you need to release the hood latch inside your Outback and then you need to release the safety latch under your hood in the front of your Outback. The video above shows you the location of both hood latches. Genuine OEM Subaru Parts and Accessories Online - Subaru ... Subaru is the automotive division of Japanese transportation conglomerate Subaru Corporation. In 2017, it was the twenty-first largest vehicle manufacturer in the world. Subaru vehicles are known for their boxer engine. It is used in most vehicles over 1500 cc. Symmetrical all-wheel drive was introduced in 1972. 57310FA130 Genuine Subaru Front Hood Lock Assembly Your vehicle deserves only genuine OEM Subaru parts and accessories. To ensure reliability, purchase Subaru part # 57310FA130 Front Hood Lock Assembly.It is sometimes referred to as Subaru Hood Latch. Our Subaru parts and accessories are expedited directly from authorized Subaru dealers strategically located all across the U.S. and are backed by the manufacturer's 12 month, 12,000 mile warranty.

Open Hood How To 2010-2014 Subaru Outback 2012 Subaru ... See how to open the hood on your 2012 Subaru Outback 2.5i Premium 2.5L 4 Cyl. with this free video. Popping the hood on a requires you to release the latch inside your 2012 Subaru Outback 2.5i Premium 2.5L 4 Cyl. and then a secondary latch in front subaru Impreza Hood Release Cable (Front). Hood Release ... Hood Release Cable (Front) Part Number: 57330FG080. Hood Release Cable. Fits Impreza (2008 - 2016) Hood Release Cable. If the hood release cable on your Subaru Impreza is stretched or snapped, or your hood release lever is broken, have a technician replace your hood release cable. 33 people have looked at this part recently. 2012 Subaru Impreza Hood Latch (Front) - 57310FJ010 ... Replace the hood latch on your 2012 Subaru Impreza if your hood latch is stuck and your hood doesn't open. 21 people have looked at this part recently ... Full Diagram #57310. FRONT HOOD & FRONT HOOD LOCK. Full Diagram #57310. View All Diagrams. Related Products. Bumper Guide (Right, Front) 57707FJ020 $6.33 Hood Panel (Front) 57229FJ0009P ... OEM Exterior | Subaru WRX Exterior Parts Page 2 | FastWRX.com Over the years the OEM Subaru hood latch can become sticky or even break. Replace it with a factory fresh part. Fits all 2005-2007 Subaru Legacy GT and Outback XT.

Jeep CHRYSLER OEM 93-98 Grand Cherokee Hood-Lock Latch ...

Jeep CHRYSLER OEM 93-98 Grand Cherokee Hood-Lock Latch ...

Subaru Hood Latch Diagram - Wiring Diagram Pictures Jun 12, 2018 · Subaru Parts is a wholesale discount OEM parts website for Subaru Parts and hood bumper Left hood bumper Right hood protector Left. Subaru hood latch diagram related problems. Ask your Subaru hood latch diagram questions. Get free help, advice & support from top Subaru experts.

Easy Ways to Open a Hood with a Broken Latch: 8 Steps

Easy Ways to Open a Hood with a Broken Latch: 8 Steps

SOLVED: The hood latch on my 2000 Forester is frozen (in ... subaru hood latch diagram subaru forester hood latch subaru forester hood hood wont open cold weather 473 views . Ask a Question. Usually answered in minutes! Expand. Popular Questions. How do i adjust the headlight beam on my Subaru. 2006 Subaru Forester. Check engine light on and cruise control light is flashing ...

2003 Subaru Impreza WRX Hood Latch Replacement

2003 Subaru Impreza WRX Hood Latch Replacement

57310AE01C Genuine Subaru Front Hood Lock Assembly Your vehicle deserves only genuine OEM Subaru parts and accessories. To ensure reliability, purchase Subaru part # 57310AE01C Front Hood Lock Assembly.It is sometimes referred to as Subaru Hood Latch. Our Subaru parts and accessories are expedited directly from authorized Subaru dealers strategically located all across the U.S. and are backed by the manufacturer's 12 month, 12,000 mile warranty.

Engine Hood-Latch Disengaging? | Page 2 | Subaru Crosstrek ...

Engine Hood-Latch Disengaging? | Page 2 | Subaru Crosstrek ...

Open Hood How To 2003-2005 Subaru Forester XT 2.5L 4 Cyl ... This video shows you how to open the hood in your 2005 Subaru Forester. Popping the hood on your Forester is a two step process, you need to release the hood latch inside your Forester and then you need to release the safety latch under your hood in the front of your Forester. The video above shows you the location of both hood latches.

06-'08) - 2008 - Hood release issue? | Subaru Forester Owners ...

06-'08) - 2008 - Hood release issue? | Subaru Forester Owners ...

How to open a Subaru Hood Latch - YouTube Whether you're in a Subaru Crosstrek, Forester, Outback, Legacy, Impreza, BRZ, WRX, STI of the New 2019 Subaru Ascent you'll want to check this quick video o...

Subaru Outback - Rear Gate Latch and Actuator Assembly ...

Subaru Outback - Rear Gate Latch and Actuator Assembly ...

2006 outback hood latch | Subaru Outback Forums The coaxial cable housing is attached to the latch mechanism behind a protective sleeve (angled up to the right in the above photo). If the inner cable is broken at the latch, even with the three bolts removed, when the hood is raised, the housing would prevent it being raised all the way as it heads off on the right under the radiator support.

Hood & Components for 2020 Subaru Forester | Subaru Parts Plus

Hood & Components for 2020 Subaru Forester | Subaru Parts Plus

Hood won't fully close | Subaru Impreza GC8 & RS Forum ... 2001 Impreza STM Coupe. Joined Dec 22, 2007. ·. 239 Posts. #8 · Jan 21, 2010. try loosening the three bolts that hold the assembly and move them up a bit, shouldnt take much. then tighten down it worked for me. i did the pb method but it only lasted until I had to open the hood again, my method still is holding strong.

Genuine OEM Subaru 57330XA00BMW Hood Latch Release Cable 2006 ...

Genuine OEM Subaru 57330XA00BMW Hood Latch Release Cable 2006 ...

Bartendery - subaru hood latch recall most suitable for ... Hood latch diagram /problem | Subaru Outback Forums great . All you need to do is to reopen the hood latch via the release inside the car to pop it back open and then close the hood. The cable attachment is on the outside of the latch, as disassembly of the hood latch is not recommended due to the strong springs under ...

Subaru Hood Latch 2002-2003 Impreza/WRX

Subaru Hood Latch 2002-2003 Impreza/WRX

2014 subaru Crosstrek Hood Latch (Front) - 57310FE030 ... Shop 2014 subaru Crosstrek Hood Latch (Front). Lock Hood. A latch that secures the hood to the vehicle LOCK, Body -OEM subaru Part # 57310FE030. Toggle navigation. Search by Keywords, Part Numbers or Full VIN Go . 2014 Subaru Crosstrek {{loadingIndicator}} Toggle navigation ...

Subaru Outback - Rear Gate Latch and Actuator Assembly ...

Subaru Outback - Rear Gate Latch and Actuator Assembly ...

57310FJ010 - Hood Latch (Front) - Genuine subaru Part Hood Latch (Front) Part Number: 57310FJ010. Lock Hood. A latch that secures the hood to the vehicle body when shut. Fits Crosstrek, Impreza. Hood Latch. Replace the hood latch on your Subaru if your hood latch is stuck and your hood doesn't open. 50 people have looked at this part recently. Diagrams and Kits.

Subaru Outback - Engine hood - Maintenance and service

Subaru Outback - Engine hood - Maintenance and service

57310XA00A Genuine Subaru Front Hood Lock Assembly Your vehicle deserves only genuine OEM Subaru parts and accessories. To ensure reliability, purchase Subaru part # 57310XA00A Front Hood Lock Assembly.It is sometimes referred to as Subaru Hood Latch. Our Subaru parts and accessories are expedited directly from authorized Subaru dealers strategically located all across the U.S. and are backed by the manufacturer's 12 month, 12,000 mile warranty.

Hood wont close - Subaru Legacy Forums

Hood wont close - Subaru Legacy Forums

2014 subaru Forester Hood Latch (Front) - 57310FE080 ... Lock Hood LHD. A latch that secures the hood to the vehicle body when shut. Fits Impreza, STI, WRX Hood Latch Replace the hood latch on your 2014 Subaru Forester if your hood latch is stuck and your hood doesn't open.

03-'05) - Hood adjustment after accident, latch? - beyond ...

03-'05) - Hood adjustment after accident, latch? - beyond ...

Hood latch problem | Subaru Outback Forums I feel bad experiencing these problems with my 2nd and most expensive subaru. I brought it back to the dealer this afternoon and they cant figure out too what is wrong with the latch. the releasinf latch (controled by the lever under the steering wheel) is not catching lock the latch pushed down by the hood, that is why.

Easy Ways to Open a Hood with a Broken Latch: 8 Steps

Easy Ways to Open a Hood with a Broken Latch: 8 Steps

SUBARU OEM 05-07 Outback Hood-Lock Latch 57310AG010 | eBay

SUBARU OEM 05-07 Outback Hood-Lock Latch 57310AG010 | eBay

Hood Lock Assembly

Hood Lock Assembly

Easy Ways to Open a Hood with a Broken Latch: 8 Steps

Easy Ways to Open a Hood with a Broken Latch: 8 Steps

Amazon.com: Subaru 57330FA100ML Hood Release Cable : Automotive

Amazon.com: Subaru 57330FA100ML Hood Release Cable : Automotive

Subaru Trunk Latch 2015-2021 WRX / STI

Subaru Trunk Latch 2015-2021 WRX / STI

How to Replace Hood Latch 04-09 Subaru Outback

How to Replace Hood Latch 04-09 Subaru Outback

57310VA010 Genuine Subaru Front Hood Lock Assembly

57310VA010 Genuine Subaru Front Hood Lock Assembly

OEM 2006-2007 Subaru Impreza Front Hood Lock Latch Assembly ...

OEM 2006-2007 Subaru Impreza Front Hood Lock Latch Assembly ...

WQX-59 – Tribeca Hood May Open While Driving – 2006-2014 ...

WQX-59 – Tribeca Hood May Open While Driving – 2006-2014 ...

Easy Ways to Open a Hood with a Broken Latch: 8 Steps

Easy Ways to Open a Hood with a Broken Latch: 8 Steps

1997 Subaru Legacy - Hood won't open - Motor Vehicle ...

1997 Subaru Legacy - Hood won't open - Motor Vehicle ...

1993-2007 Subaru Release Cable 57330FA100ML | Subaru Parts Store

1993-2007 Subaru Release Cable 57330FA100ML | Subaru Parts Store

57310FE080 Genuine Subaru Front Hood Lock Assembly

57310FE080 Genuine Subaru Front Hood Lock Assembly

What To Do If You Have a Stuck Hood Latch Or Hood Won't Open

What To Do If You Have a Stuck Hood Latch Or Hood Won't Open

SUBARU OEM 10-14 Legacy Hood-Latch Lock Release Cable ...

SUBARU OEM 10-14 Legacy Hood-Latch Lock Release Cable ...

Should hood pop up? (2009 Outback Wagon) | Subaru Outback Forums

Should hood pop up? (2009 Outback Wagon) | Subaru Outback Forums

2003 2004 2005 2006 2007 2008 SUBARU FORESTER HOOD LATCH

2003 2004 2005 2006 2007 2008 SUBARU FORESTER HOOD LATCH

2008-2014 SUBARU IMPREZA WRX & STI FRONT HOOD LATCH LOCK ...

2008-2014 SUBARU IMPREZA WRX & STI FRONT HOOD LATCH LOCK ...

772) 2015-2018 Subaru Outback - How To Open The Hood (Pop ...

772) 2015-2018 Subaru Outback - How To Open The Hood (Pop ...

2008-2014 SUBARU IMPREZA WRX & STI FRONT HOOD LATCH LOCK ...

2008-2014 SUBARU IMPREZA WRX & STI FRONT HOOD LATCH LOCK ...

Subaru Replacement Hood Latches & Hood Locks — CARiD.com

Subaru Replacement Hood Latches & Hood Locks — CARiD.com

How to Open Hood Latch Subaru Legacy 2015 2016 2017 2018 2019 2020 2021 2022

How to Open Hood Latch Subaru Legacy 2015 2016 2017 2018 2019 2020 2021 2022

Subaru Forester: Engine hood - Maintenance and service ...

Subaru Forester: Engine hood - Maintenance and service ...

Hyundai 81130-3L000 Latch Assembly-Hood

Hyundai 81130-3L000 Latch Assembly-Hood

2010-2014 Subaru Hood 57229AJ00A9P | Subaru Parts Store

2010-2014 Subaru Hood 57229AJ00A9P | Subaru Parts Store

Rear Bumper - 2003 Subaru Outback

Rear Bumper - 2003 Subaru Outback

How to OPEN HOOD when hood release cable is broken ~ DiY for Isuzu Rodeo

How to OPEN HOOD when hood release cable is broken ~ DiY for Isuzu Rodeo

hood latch release cable snapped | Subaru Impreza GC8 & RS ...

hood latch release cable snapped | Subaru Impreza GC8 & RS ...

0 Response to "42 subaru hood latch diagram"

Post a Comment

Iklan Atas Artikel

Iklan Tengah Artikel 1

Iklan Tengah Artikel 2

Iklan Bawah Artikel