Iklan 300x250

38 yale forklift wiring diagram

Wiring Diagram Yale Forklift Fork Lift Motor Wiring Diagram Basic Electronics Wiring Diagram The wiring diagram opens in a pop-up modal box. If the pop-up blocker is turned on in your device, you are not able to download or read online the wiring diagram. Yale Forklift Wiring Diagram Manual Refrence Nissan Parts. Yale Electric Forklift Wiring Diagram : Yale Wiring Diagram - Wiring... March 17, yale electric forklift wiring diagram.solved: Yale forklift parts diagram yale forklift class 3 electric motor hand trucks 2019 … credit: Factories for production of warehouse equipment are located all over the world, which allows the company to be closer to.

YALE Forklift Truck Manuals PDF free download - Trucks, Tractors... Yale Materials Handling Corporation is the leader in the manufacture of handling equipment with a 140-year history. For these years, Yale has become synonymous with reliability, high productivity and new technologies. - Free Trucks, Tractors & Forklift Truck Wiring Diagrams

Yale forklift wiring diagram

Yale forklift wiring diagram

Yale forklift wiring diagram - Fixya yale forklift wiring diagram 2006 1/2 yale, mazda 2.0. code 51-2 on dash. no others, replaced tps, same problem. - Electrical Supplies question. These are books containing info on repair, service, troubleshooting, parts info, assembling dissemble, removal, error/fault codes, wiring diagrams and... Yale Forklift Wiring Diagram.pdf - Free Download Download: Yale Forklift Wiring Diagram.pdf. Similar searches Yale Lift Truck Wiring Diagram - Yale Pallet Jack Wiring Schematic... Porch lift vertical platform lift wiring diagram collection. Some yale forklift truck manuals pdf above the page. Supplier of lift trucks and warehousing equipment yale provides dependable forklifts and leading warehousing solutions for all industries yale forklift wiring. Yale erc030af, erc040af...

Yale forklift wiring diagram. Yale Forklifts Service Manuals - Truck manual, wiring diagrams, fault... Yale Forklifts Service Manuals PDF, spare parts catalog, fault codes and wiring diagrams. YALE G807 ERP18VT LIFT TRUCK (EUROPE) Service Repair Manual. Yale Forklift Wiring Diagram Model / Pin On Yale Instructions Manual... Diagram yale forklift wiring diagrams manual lift truck number user forklifts service manuals model toyota seat library parts fork for nissan full grafik hd owners schematic 2018 schematics pdf all brochure electric trucks class 1 reach accelerator pedal circuit tractor clark cat 5 data just 1957 ford. yale forklift wiring diagram manual - Free Pdf Manual Download To find more books about yale forklift wiring diagram manual, you can use related keywords Yale NR NDR Forklift Trucks Wiring Diagrams PDF YALE Forklift Truck Manuals PDF. Yale ERC 070-HG-8K Operator's Manual PDF. admin@forkliftpdfmanuals.com. Forklift Truck, Warehouse Equipment, Stacker & Reach Truck Service PDF Manuals, Wiring Diagrams, Parts Catalogs.

Yale Forklift Trucks Parts & Service Manuals 2021 PDF Collection PDF Collection Parts Manuals, Service Manuals, Workshop Manuals, Repair Manuals Maintenance Manuals, wiring diagram, hydraulic diagram for Yale Forklift trucks old and new models. Wiring Diagram For A Yale Forklift - Symeon News Charming yale forklift wiring diagram gallery schematic symbol size. Yale forklift service manuals for 9 95. Using the appropriate wiring diagram identify some easily accessible areas to measure for available voltage. Yale Forklift Service Manuals PDF Download Yale forklift service manuals are available for immediate download. This service is available for only $9.95 per download! If you have a dirty old paper copy or a PDF copy on your After downloading your Yale forklift service manual you can view it on your computer or print one or all of the pages needed. YALE FORKLIFT PARTS & MANUALS FULL - Automotive Library Doosan daios wirings diagrams full [06.2015]. Toyota forklift BT arena quality parts. Yale forklift detailed of spare parts. Linde forklift shop manual full. Atlet warehouse parts manual full.

PDF Toyota Forklift 1. Safe operation (1) Make sure that correct size wire is used when lifting heavy material. (2) A fte r jacking up, always be sure to support with rigid rack or stand. 2. Availability o f SST and measuring tools Have the SST's and measuring tools available before starting work. Yale Service Manuals, PDF, service manuals for Yale forklifts, wiring... Wiring Diagrams and Service Manuals for Yale ForkLifts. Yale electric counterbalance forklifts... Yale Electric Forklift Wiring Diagram - 14 Yale Wiring Diagram Wiring Diagram Dash. 73 Best Yale Instructions Manual Images Manual High. Original Illustrated Factory Workshop Service Manual For. Toyota Forklift Ignition Key Wiring Diagram 12 Volt Ignition. Yale Electric Forklift Trucks Service Maintenance Repair. Download Yale Forklift Trucks Parts Manuals PDF Yale PDF electronic database is a catalog of spare parts for trucks, which includes a detailed catalog of parts and accessories trucks of all types and sizes of Yale. Service documentation for forklift trucks Yale CLASS 1 repair manual and wiring diagrams.

Yale b974 glp060 lx lift truck service repair manual

Yale b974 glp060 lx lift truck service repair manual

Yale Lift Truck Wiring Diagram - Yale Pallet Jack Wiring Schematic... Porch lift vertical platform lift wiring diagram collection. Some yale forklift truck manuals pdf above the page. Supplier of lift trucks and warehousing equipment yale provides dependable forklifts and leading warehousing solutions for all industries yale forklift wiring. Yale erc030af, erc040af...

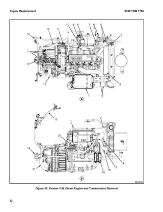
Yale GDP030AF, GDP040AF Diesel Forklift Truck A810 Series ...

Yale GDP030AF, GDP040AF Diesel Forklift Truck A810 Series ...

Yale Forklift Wiring Diagram.pdf - Free Download Download: Yale Forklift Wiring Diagram.pdf. Similar searches

Yale Electric For MPB040 E B827 MPW045 E B802 Service ...

Yale Electric For MPB040 E B827 MPW045 E B802 Service ...

Yale forklift wiring diagram - Fixya yale forklift wiring diagram 2006 1/2 yale, mazda 2.0. code 51-2 on dash. no others, replaced tps, same problem. - Electrical Supplies question. These are books containing info on repair, service, troubleshooting, parts info, assembling dissemble, removal, error/fault codes, wiring diagrams and...

Yale Forklift Trucks Parts & Service Manuals 2021 PDF ...

Yale Forklift Trucks Parts & Service Manuals 2021 PDF ...

New Yale All Wiring Diagrams and Service Manuals PDF 2022 ...

New Yale All Wiring Diagrams and Service Manuals PDF 2022 ...

VX Series Diesel and LP Gas Forklift Trucks 1,600kg, 1,800kg ...

VX Series Diesel and LP Gas Forklift Trucks 1,600kg, 1,800kg ...

Yale ERC030 AF/AG/BG, ERC040 AF/AG/BG Electric Forklift Truck ...

Yale ERC030 AF/AG/BG, ERC040 AF/AG/BG Electric Forklift Truck ...

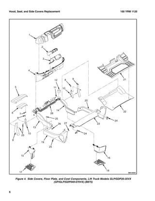
Owners manual for forklift trucks Yale GP/GLP/GDP 15-20AK, 20 ...

Owners manual for forklift trucks Yale GP/GLP/GDP 15-20AK, 20 ...

YALE B875 GP060VX LIFT TRUCK Service Repair Manual by 163610 ...

YALE B875 GP060VX LIFT TRUCK Service Repair Manual by 163610 ...

New Hyster S50xm Wiring Diagram And Forklift Starter ...

New Hyster S50xm Wiring Diagram And Forklift Starter ...

Yale Forklift Full Set Manual DVD - Auto Repair Software-Auto ...

Yale Forklift Full Set Manual DVD - Auto Repair Software-Auto ...

Yale ERC030 AF/AG/BG, ERC040 AF/AG/BG Electric Forklif - Belgreen

Yale ERC030 AF/AG/BG, ERC040 AF/AG/BG Electric Forklif - Belgreen

YALE Forklift DIESEL SERVICE MANUAL | Auto Repair Manual ...

YALE Forklift DIESEL SERVICE MANUAL | Auto Repair Manual ...

YALE Forklift Truck Manuals PDF - Fork Lift Trucks Manual Pdf ...

YALE Forklift Truck Manuals PDF - Fork Lift Trucks Manual Pdf ...

Yale Forklifts Service Manuals - Truck manual, wiring ...

Yale Forklifts Service Manuals - Truck manual, wiring ...

Calaméo - YALE E818 GDC40VX LIFT TRUCK (EUROPE) Service ...

Calaméo - YALE E818 GDC40VX LIFT TRUCK (EUROPE) Service ...

Yale D878 Glp70vx Gdp70vx Glp60vx Gdp60vx Forklift Parts Manual - PDF  Download

Yale D878 Glp70vx Gdp70vx Glp60vx Gdp60vx Forklift Parts Manual - PDF Download

Yale Forklift Trucks Parts & Service Manuals 2021 PDF ...

Yale Forklift Trucks Parts & Service Manuals 2021 PDF ...

Yale Forklift Erp 030 035 040 Tgn E807 Diagrams Manual ...

Yale Forklift Erp 030 035 040 Tgn E807 Diagrams Manual ...

Yale Manual – Service and Repair Manual Download

Yale Manual – Service and Repair Manual Download

Yale ERC16AAF (B814E) Forklift Operation Manual PDF

Yale ERC16AAF (B814E) Forklift Operation Manual PDF

Yale ERC030AF, ERC040AF, ERP030AF, ERP040AF Electric L - Belgreen

Yale ERC030AF, ERC040AF, ERP030AF, ERP040AF Electric L - Belgreen

Yale D878 Glp70vx Gdp70vx Glp60vx Gdp60vx Forklift Parts Manual - PDF  Download

Yale D878 Glp70vx Gdp70vx Glp60vx Gdp60vx Forklift Parts Manual - PDF Download

Yale g83p Manual | PDF | Forklift | Amazon Kindle

Yale g83p Manual | PDF | Forklift | Amazon Kindle

HYSTER Forklift Electrical Wiring Diagram Schematic service Manual repair  shop w | eBay

HYSTER Forklift Electrical Wiring Diagram Schematic service Manual repair shop w | eBay

Yale Electric Forklift Truck ERP030TFN, ERP035TFN, ERP040TFN Workshop  Service Manual

Yale Electric Forklift Truck ERP030TFN, ERP035TFN, ERP040TFN Workshop Service Manual

Yale Forklift full set PDF (Parts & Manuals) - Auto Repair ...

Yale Forklift full set PDF (Parts & Manuals) - Auto Repair ...

Yale Forklift Class 2 Electric Motor Narrow Aisle Trucks 2019 ...

Yale Forklift Class 2 Electric Motor Narrow Aisle Trucks 2019 ...

VINTAGE 1953 YALE ELECTRIC FORKLIFT MODEL K51-AT-100 SERVICE & PARTS MANUAL  | eBay

VINTAGE 1953 YALE ELECTRIC FORKLIFT MODEL K51-AT-100 SERVICE & PARTS MANUAL | eBay

Yale B875 Parts Manual

Yale B875 Parts Manual

Yale Forklift Trucks Parts & Service Manuals 2021 PDF ...

Yale Forklift Trucks Parts & Service Manuals 2021 PDF ...

YALE (C810) GP030 LIFT TRUCK Service Repair Manual

YALE (C810) GP030 LIFT TRUCK Service Repair Manual

Yale Wiring Diagrams and Service Manuals Class 3|wiring ...

Yale Wiring Diagrams and Service Manuals Class 3|wiring ...

Yale Forklift Trucks Service Manuals All Class [06.2019] New ...

Yale Forklift Trucks Service Manuals All Class [06.2019] New ...

Nissan Forklift Service Manuals 2010

Nissan Forklift Service Manuals 2010

Yale Forklift Class 3 Electric Motor Hand Trucks 2019 Service ...

Yale Forklift Class 3 Electric Motor Hand Trucks 2019 Service ...

Hyster/Yale GM 3.0L No Start, No Spark – Forklift Repair ...

Hyster/Yale GM 3.0L No Start, No Spark – Forklift Repair ...

Yale Forklift Esc 030 Ea Models Service Parts Manual ...

Yale Forklift Esc 030 Ea Models Service Parts Manual ...

0 Response to "38 yale forklift wiring diagram"

Post a Comment

Iklan Atas Artikel

Iklan Tengah Artikel 1

Iklan Tengah Artikel 2

Iklan Bawah Artikel