39 optimax fuel system diagram
1 Jun 2000 — 2.5 Litre OptiMax 2000 Model Year Digital. Wiring Diagram ... Fuel & Air Flow Diagram ... System Link Gauges (Tachometer and Speedometer).23 pages 200 • 225 OPTIMAX. DIRECT FUEL INJECTION ... Master Specifications. Model 200/225 DFI. FUEL. SYSTEM. Fuel ... Instrument/Lanyard Stop Switch Wiring Diagram.
IMPORTANT: Adding components to the fuel supply system as in filters, valves, fit-tings, etc. may restrict the fuel flow and could cause engine stalling at low speed, and/ or a lean fuel condition at high RPM, that could cause engine damage. Electric Fuel Pump If an electric fuel pump is used, the fuel pressure must not exceed 4 psig at the ...

Optimax fuel system diagram
Check out another great video by BoatingLocal demonstrating some fuel system tips for the winterization or storage process of your boat engine. You can find ... Diagram. Fuel System. Powerhead. Mid-Section. Gear Housing. Attachment/Control Linkage. 8. Color Diagrams. R1 JUNE Page iii. Use engine diagrams to find & order parts for your Mercury / Mariner engine. Engine Diagrams Thread: OPTIMAX Fuel pressure regulator diaphragm Bottom line the part should be readily available for about $5 - $10 max. The Mercury Optimax motor is very different from conventional 2-strokes, and the motors previously offered by Mercury and Mariner. Rather than injecting fuel into the crankcase like the previous 2-stroke motors offered, this motor uses a combination of high pressure fuel and high pressure air to inject an atomized mixture of gas directly into the combustion chamber.
Optimax fuel system diagram. The OPTIMAX is the most MIS-DIAGNOSED engine out there. Symtoms caused by leaking REGULATOR DIAPHRAMS point to: Bad Injectors Bad Fuel Pumps Leaking VST Air in Fuel Lines Bad Gas Bad TPS Rubber Regulator Diaphrams dry and crack because of today's fuel content. Also, low engine use tends to dry out the Diaphrams. OUTBOARD MOTOR INSTALLATION 2. Fasten clamp together with two screws. Screws Filling Fuel System NOTE: For initial start of a new engine or for an engine that ... Mercury Mariner Outboard 115 / 135 / 150 / 175 Optimax Direct Fuel Injection Service Repair Manual Download Download Now. 2000-2001 Mercury 115HP 135HP 150HP 175HP Optimax 2-Stroke EFI Outboard Repair Manual PDF Download Now. 2002-2004 Mercury Mercruiser 250 OptiMax JetDrive Repair PDF Download Now. This diaphram fits both the air and fuel regulator on all of the Optimax 3.0L Model Engines (200 - 300 HP). The previous models were either green or brown in color. This diaphram is used in either regulator (fuel or air) on the port side fuel rail for the 3.0L engines, and for the fuel regulator in the port side rail for the 2.5L engines.
Mercury/Mariner OptiMax fuel pump clean-out. The gray fuel line apparently suffered from ethanol decomposition and deposited debris into the fuel/water separ... 4,730 satisfied customers. I have a 2001 75 HP Mercury outboard with oil injection that. I have a 2001 75 HP Mercury outboard with oil injection that normally uses Mercury TC-W3 2 cycle outboard oil. Accidently added about 3 ounces of Optimax/DFI synthetic blend to the three quart capacit … read more. Ted G. 19:02Our Mercury OptiMax 115 is again having problems with fuel delivery. In this video, I'll disassemble the fuel ...4 May 2020 · Uploaded by Rich Brown Mercury Optimax Outboard Fuel System Diagram pics and pictures selection that posted here was carefully selected and uploaded by our team after choosing the ones which are best among the others. INSTALLATION MANUAL // OPTIMAX IMPORTANT: Adding components to the fuel supply system as in filters, valves, fit-tings, etc. may restrict the fuel flow ...
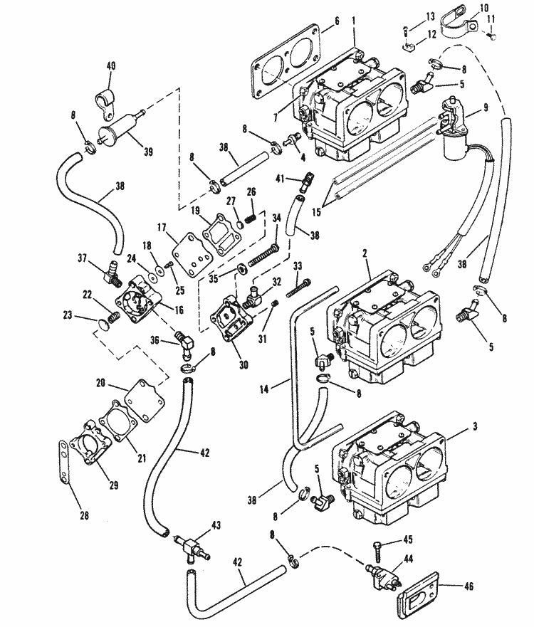
#DescriptionPrice1NOT SOLD SEPARATE Fuel Rail (Port); NSSUnavailable2NOT SOLD SEPARATE Fuel Rail (Starboard); NSSUnavailable4SCREW PACKAGE (2 Per)(M5 x 10); 804525001UnavailableView 40 more rows The Mercury Optimax motor is very different from conventional 2-strokes, and the motors previously offered by Mercury and Mariner. Rather than injecting fuel into the crankcase like the previous 2-stroke motors offered, this motor uses a combination of high pressure fuel and high pressure air to inject an atomized mixture of gas directly into the combustion chamber. Diagram. Fuel System. Powerhead. Mid-Section. Gear Housing. Attachment/Control Linkage. 8. Color Diagrams. R1 JUNE Page iii. Use engine diagrams to find & order parts for your Mercury / Mariner engine. Engine Diagrams Thread: OPTIMAX Fuel pressure regulator diaphragm Bottom line the part should be readily available for about $5 - $10 max. Check out another great video by BoatingLocal demonstrating some fuel system tips for the winterization or storage process of your boat engine. You can find ...
0 Response to "39 optimax fuel system diagram"
Post a Comment